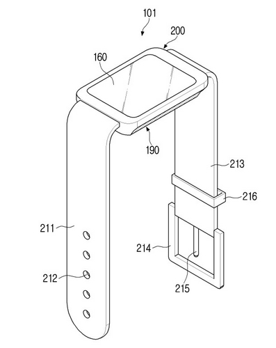
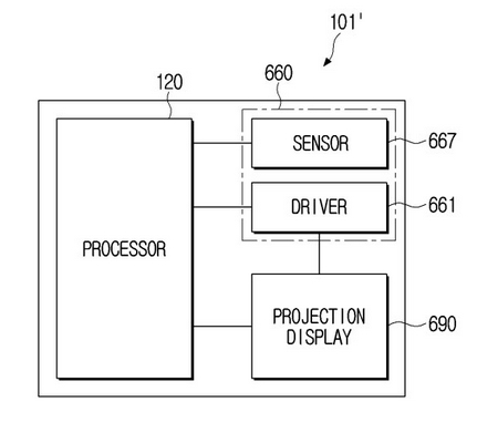
Le géant de la technologie basé en Corée du Sud aurait déposé un brevet qui évoque la possibilité d’une future smartWatch qui sera équipée d’un projecteur intégré capable de projeter des informations sur la main.
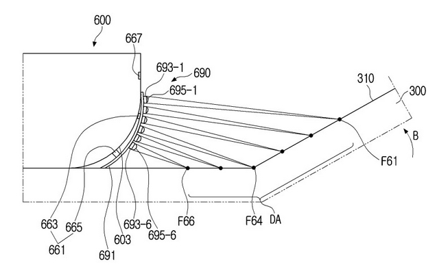
Le dossier parle d’une smartwatch avec un écran de projection sur une partie latérale du boîtier et configuré pour afficher des informations sur une zone d’affichage adjacente au boîtier qui pourrait refléter l’écran principal ou être utilisé pour afficher d’autres informations.
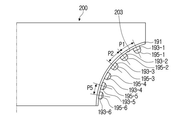
Selon Samsung, les LED transmettant les informations pourraient être plus lumineuses, en fonction de la distance focale la plus proche, ou pourraient s’incliner intelligemment dans le sens des aiguilles d’une montre ou dans le sens inverse des aiguilles d’une montre en fonction de l’angle détecté de la surface prévue. C’est comme la technologie de correction trapézoïdale que nous voyons pour présenter une image droite sur un projecteur traditionnel, mais avec plusieurs lentilles et LED.
Que pensez-vous de cela ?

