Les caméras périscopiques ont fait leurs premiers pas en 2019 avec des appareils tels que le Huawei P30 Pro et Oppo Reno zoom 10x et on dirait que Xiaomi veut se mettre à la mode. Une récente demande de brevet approuvée par l’Office d’État de la propriété intellectuelle de Chine le 2 juillet révèle les détails clés de la mise en œuvre prochaine du téléobjectif de Xiaomi.
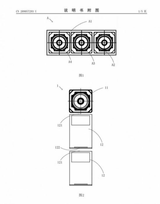
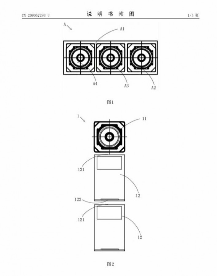
Le brevet décrit la combinaison d’une caméra principale avec au moins une lentille périscopique complémentaire qui sera placée perpendiculairement à la caméra principale. Grâce au processus de réfraction de la lumière, l’objectif périscopique sera en mesure d’obtenir des grossissements de zoom variables sans augmenter la taille de la caméra principale et donc de l’appareil.
Lire : Vivo iQOOO Neo arrive avec le Snapdragon 845 et une énorme batterie
Le résultat est un zoom sans perte avec stabilisation optique de l’image. Les offres actuelles de Huawei et d’Oppo vont jusqu’à 125 mm et 135 mm de focale, on peut donc s’attendre à ce que la version de Xiaomi soit dans la même gamme.
Le brevet Xiaomi révèle que la caméra périscopique est en cours d’élaboration pour le prochain flagship.
Aussi : Oppo F11 Pro Le design et le prix sont dignes d’un Redmi K20 mais…
Selon les hypothèses, la rumeur selon laquelle le Xiaomi Mi Mix 4 pourrait être le premier appareil de la gamme du fabricant à comporter le nouvel objectif périscopique à côté d’un nouvel appareil photo qui est meilleur que le 64MP Samsung GW1 appareil.


